专利博弈的胜负手:功能性技术特征认定实战全解与破局精要

mysmile 19 0
专利博弈的胜负手:功能性技术特征认定实战全解与破局精要

浅谈专利功能性技术特征的认定及建议

专利博弈的胜负手:功能性技术特征认定实战全解与破局精要

在专利权的竞技场上,你是否曾因一个看似简单的“功能性描述”而陷入被动?功能性技术特征,这把双刃剑,用好了能扩大保护壁垒,用不好则可能在诉讼中瞬间崩塌。本文将通过一场真实的侵权交锋,拆解其认定迷局,为你呈现从法规到实战的全景策略地图。

作者 | 王锐 刘奕晴 孙丽妍 金玉兰 北京铭硕知识产权代理有限公司

摘要:功能性技术特征是专利授权、确权与侵权诉讼中的核心争议点,直接决定保护范围的宽窄,影响权利行使的成败。本文结合典型侵权案例与关键判例,深度剖析功能性特征的规定脉络、认定标准与解释规则,并从撰写布局、专利权人攻防、无效请求人出击三大战术维度,提供立体化的实战建议,为相关方锻造应对利器。

关键词:功能性技术特征;认定;权利要求;保护范围

引言

功能性技术特征,以功能或效果之名行限定之实,其文字看似宽泛,却在确权与侵权判定中掀起巨大波澜。若按《专利审查指南》覆盖所有实现方式,保护范围可能过宽,束缚后续创新;若依司法解释限缩至具体实施方式及其等同,又可能过度收窄,损害权利人权益。这种“宽严之争”贯穿司法实践,成为专利博弈的常见战场。

尤其在机械等领域,为实现特定功能,采用上位概括几乎不可避免。同时,“可预见性规则”的引入,更要求申请人在撰写时精准预判技术路径。例如,在著名的“防粘连自动排气阀”系列案件中,最高院对“锥面”能否等同至“平面”的裁判转变,正是规则演变影响权利疆界的鲜活写照。

如何在撰写时平衡概括与公开,在诉讼中精准认定与抗辩,成为制胜关键。本文将穿透一起侵权纠纷的迷雾,结合前沿司法判例,解码功能性技术特征的认定逻辑与应对战术,为你在复杂的专利攻防中提供清晰导航。

一、全球视野下的规则博弈:中美欧功能性特征规定对比

(一)美国:源起与框架

功能性特征概念源自美国专利法第112条的“装置/步骤+功能”表述。其审查手册(MPEP)明确,判断关键在于:本领域普通技术人员是否认为该表述具有明确的结构含义。认定标准聚焦于是否使用“means”等通用占位符,并由功能语言修饰,且未描述足够的具体结构。

(二)欧洲:严格限制与平衡

欧洲未在公约中明文规定,但审查指南允许使用功能性特征,前提是本领域技术人员能轻易想到实现手段。对“结果特征”限制更严,要求无法更精确限定且结果可验证。其核心在于确保特征不过度宽泛,维持权利与公共利益的平衡。

(三)中国:二元分立与实务难点

中国《专利审查指南》允许在无法用结构限定或功能限定更恰当时使用,但要求功能能直接验证,且说明书需充分公开。在侵权程序中,最高院司法解释将其明确定义,并规定保护范围仅限于说明书中的具体实施方式及其等同方式,形成了授权宽、侵权窄的二元格局。北京高院的判定指南进一步细化了不宜认定的情形,为实务提供指引。

二、战例深挖:从“注射成型部”争议看认定攻防

让我们进入一场真实诉讼——“注射拉伸吹塑成型装置”专利侵权案。本案中,“注射成型部”与“拉伸吹塑成型部”是否属于功能性特征,成为双方厮杀的焦点。

涉案专利核心在于将合模机构置于机座内以降低设备高度。一审法院认定上述两个特征为功能性特征,应结合具体实施方式解释。专利权人则激烈上诉,理由包括:它们属公知技术名词、非本发明改进点、且“热流道”非必要技术特征。

二审法院(北京高院)未支持其主张。这场交锋揭示了多个战术要点:

专利博弈的胜负手:功能性技术特征认定实战全解与破局精要

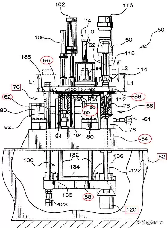
本专利的图2

专利博弈的胜负手:功能性技术特征认定实战全解与破局精要

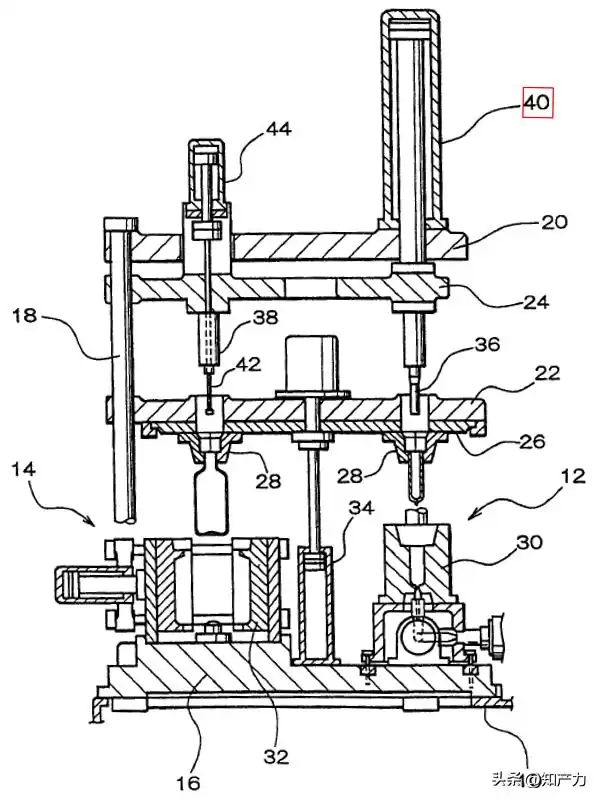
本专利的图4

(一)认定之争:是功能限定,还是区域划分?

专利权人力争其属公知名词,但法院未采纳。反观最高院在“太阳能灯案”中的裁定,指出“第一散热区”本质是区域划分,结合整体方案可明确实施方式,故非功能性特征。这提示我们:抗辩时不能仅看文字本身,而应站位本领域技术人员,结合特征含义与整体方案综合论证,避免简单化认定。

(二)发明点之辩:是否影响认定?

专利权人以争议特征“不涉及发明点”为由抗辩,但法院未予支持。最高院在“裁剪机案”中明确,侵权判定适用全面覆盖原则,不区分发明点与非发明点。在“电动平衡车案”中,非发明点的“转动机构”仍被认定为功能性特征。战术启示:试图以“非发明点”为由排除功能性认定,路径艰难,应寻找更实质性的突破口。

(三)核心战场:何为“不可缺少的技术特征”?

即便被认定为功能性特征,保护范围也取决于“不可缺少的技术特征”。本案中,专利权人主张“热流道”非注射成型部必需,但未能充分举证。最高院在多个判例中(如“电动平衡车案”、“辅助装置案”)明确,通常将说明书记载的具体实施方式特征推定为“不可缺少”,若专利权人主张排除,则负有沉重的举证责任。这要求我们在撰写说明书时,就必须精心布局,明确区分必要与非必要特征。

三、多维战术:撰写、维权与无效的攻防棋谱

面对功能性特征这一高地,必须从专利生命周期的各个阶段布局。

(一)撰写侧:谋定而后动,筑牢权利根基

1. 预见风险,优化表述:尽量避免纯功能性语言。如本案的“注射成型部”,可考虑表述为“设于机座上、用于注射成型预成型件的第一组件(即,注射成型组件)”,弱化功能色彩。
2. 说明书“弹药库”策略:对可能被认定为功能性特征的描述,在说明书中详尽列举多种具体实施方式,并加入“本领域技术人员可知,其他能实现相同功能的结构/方法亦适用”等套话,为日后解释预留空间。
3. 精简“必要特征”:说明书中区分核心与优选方案,清晰阐述实现功能的最低限度的技术特征,避免将所有细节都写入具体实施方式,防止在诉讼中被对手全部纳入保护范围解释。

(二)专利权人侧:诉讼中的精准反击

1. 活用“但书”条款:依据《解释二》,若本领域技术人员阅读权利要求即可直接、明确地确定具体实施方式,则可主张不属功能性特征。可结合“太阳能灯案”思路,论证特征本质是对产品部件或区域的划分描述。
2. 善用内外证据:积极运用教科书、工具书、技术词典等外部证据,证明特征属于公知技术术语或通用表达。同时,深挖专利审查历史等内部证据,佐证本意。
3. 聚焦“不可缺少”:若特征被认定,应全力论证说明书中某些特征非实现功能所“不可缺少”。可借鉴“太阳能灯案”,从技术原理出发,结合本领域常识进行充分说理与举证。

(三)无效请求侧/涉嫌侵权方:主动出击,限缩范围

1. 精准识别“猎物”:全面分析权利要求,标记所有可能的功能性特征。
2. 套用定义,发起攻击:论证其符合《解释二》定义,要求按具体实施方式及其等同确定范围。
3. 捆绑“具体实施方式”:主张将说明书中记载的、与实现该功能相关的全部技术特征均纳入“不可缺少”范畴,最大限度地限缩保护范围,并迫使专利权人就“非必要”承担举证责任。

四、结语

功能性技术特征的认定与解释,始终是专利实务中的高难度课题,其理解偏差常引发激烈博弈。对于从业者而言,真正的胜算来自前瞻性的撰写布局、诉讼中精准的法律与技术论证,以及对国内外判例规则的深刻洞察。唯有在诉前筑高墙,在诉中精布阵,方能在这片无形的战场上捍卫权利疆界,或将对手的堡垒成功瓦解。

行动号召:专利战场,细节决定成败。你在处理功能性技术特征时,有哪些独到见解或棘手经历?欢迎在评论区分享你的实战案例或困惑。点赞并关注我们,获取更多专利攻防的深度解析与策略弹药,共同精进专业战力!

注释

[1] 最高人民法院(2009)民申字第157号民事裁定书。

[2] 最高人民法院(2015)民申字第740号民事裁定书。

[3] 美国专利审查指南,载https://www.uspto.gov/web/offices/pac/mpep/s2181.html,最后访问日期:2025年8月29日。

[4] 张荣彦:《“欧洲指南”中的“功能性特征”及其对我们的启示》,载《专利代理》2018年第2期,第17页。

[5] 欧洲专利审查指南,载https://www.epo.org/en/legal/guidelines-epc/2023/h_iv.html, 最后访问日期: 2025年8月29日。

[6] 北京市高级人民法院(2013)高民终字第4408号民事判决书。

[7] 最高人民法院(2018)最高法民申1018号民事裁定书。

[8] 张占江:专利侵权诉讼中功能性特征的等同判定规则,载《专利代理》2020年第2期,第36页。

[9] 最高人民法院(2017)最高法民申2073号民事裁定书。

[10] 最高人民法院(2018)最高法民申2345号民事裁定书。

[11] 最高人民法院(2021)最高法知民终1864号民事判决书。

[12] 最高人民法院(2019)最高法民申5466号民事判决书。

[13] 王静:专利功能性特征中隐含技术特征之司法认定上海法学研究,载上海市法学会知识产权法研究会文集2021年第73页。

知产力AI智能体点评

这篇文章兼具理论深度与实践指导价值的专业论文,其核心价值体现在以下三方面:

1、体系化梳理与比较法视角

文章系统梳理了中、美、欧三大专利体系对功能性技术特征的界定标准,揭示了我国《专利审查指南》与司法解释的二元分立现象——授权阶段采用“覆盖所有实现方式”的宽泛解释,而侵权阶段则限缩为“具体实施方式及其等同”。这种比较法分析不仅凸显了制度差异,更为后续案例讨论奠定了理论基础。尤其值得肯定的是,作者敏锐指出欧洲审查标准对我国制度的潜在影响,为读者提供了国际视野的参照系。

2、典型案例的深度解构

通过“注射拉伸吹塑成型装置”侵权案与最高院“太阳能灯案”等判例的对比分析,作者生动展现了司法实践中认定标准的演变逻辑。其中对“是否涉及发明点”争议的剖析尤为精彩:既指出最高院在“裁剪机案”中确立的“全面覆盖原则”(不区分发明点特征),又通过“电动平衡车案”揭示功能性特征认定与发明点的实际脱钩。这种以案释法的方式,将抽象规则转化为可感知的裁判逻辑,极大增强了文章的可读性。

3、多维度的实务建议

文章最具实用价值的部分在于针对不同主体提出的策略建议:(1)撰写侧强调说明书应详尽记载替代实施方案并辅以“套话表述”以预防限缩解释;(2)专利权人侧建议善用外部证据与判例检索进行抗辩;(3)无效请求侧提供“特征分解-功能认定-举证责任转移”的攻防路径。这种“三位一体”的应对框架,体现了作者对专利生命周期各环节痛点的精准把握。

稍显不足的是,文章对“可预见性规则”与功能性特征关系的讨论稍显割裂。若能更明确分析二者联动效应(如权利要求明确排除替代方案时如何影响功能性认定),可提升逻辑连贯性。

专利博弈的胜负手:功能性技术特征认定实战全解与破局精要

(本文仅代表作者观点,不代表知产力立场)

封面来源 | Pixabay 编辑 | 有得

相关问答

专利技术是什么?

专利技术是指由专利权人拥有并保护的新颖性、创造性和实用性技术。这些技术可以是发明、实用新型和外观设计,拥有得到专利保护的技术可以使专利权人获得专属的...

专利权和专利技术的区别-法律快车法律咨询

专利权和专利技术的区别

专利技术与专有技术都有什么区别_法律问答—华律网

[回答]1、专利是公开的,而专有技术则是秘密的。按照各国专利法的规定,发明人在申请专利权时,必须把发明的内容在专利申请书中予以披露,并由专利主管部门在...

技术成果的定义是什么-找法网

技术成果的定义是什么2025-07-1910:37:03律师解答共有3条技术成果是研发所得的发明、发现等科技成就。依据《相关法律法规》,技术成果涵盖专利技术、非专利...

专利技术产品包括哪些-找法网

专利技术产品包括发明、实用新型和外观设计专利产品。依据《中华人民共和国专利法》,专利权人对其专利享有独占实施权,未经许可,任何单位或个人不得实施,否则需...

专利权和专利技术的区别?

专利权包括:1、发明专利权2、实用新型专利权3、外观设计专利权1、发明专利权,是指对产品、方法或者其改进所提出的新的技术方案.2、实用新型专利权,是指...

专利技术等级是如何划分的呢_在线咨询知识产权法律团队—华...

专利技术等级通常根据技术的创新性、创造性和实用性等方面进行划分。一般来说,可分为以下几个等级:1.发明专利:这是最高等级的专利技术,要求技术具有突出的实...

专利技术和非专利技术有什么区别?

1.权利化程度不同专利技术具有排他的权利,即任何人不经专利权人同意不得将专利技术用于生产、销售。而非专利技术则不具有排他的权利。2.公开程度不同...1...

非专利技术和专利技术有什么区别,专利技术不是无形资产吗?_...

非专利技术,又称专有技术、技术秘密,是指不为外界所知的、在生产经营活动中已采用了的、不享有法律保护的各种技术和经验。扶朕起来朕还能学(提问者):没回...

请问专利技术和非专利技术怎么理解?是什么意思_会计学堂

[回答]根据《专利法》第二条,发明创造包括发明、实用新型和外观设计。发明,是指对产品、方法或者其改进所提出的新的技术方案。实用新型,是指对产品的形...